| # | Номенклатурный номер | Наименование детали | Кол-во |
| – | 71-53-3СП Указатель грузоподъемности 1 | 1 | |
| – | 71-53-19СП Указатель грузоподъемности 2 | 1 | |
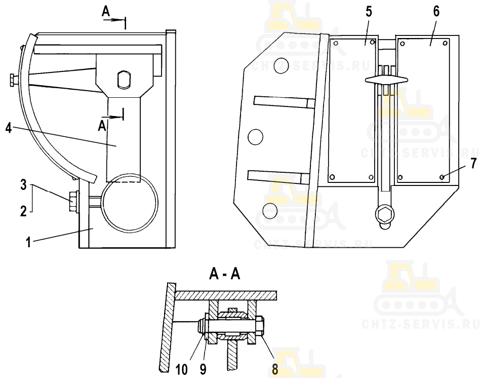
| 1 | 71-53-104СП Корпус | 1 | |
| 2 | – | Болт М10х25.58.019 | 1 |
| 3 | 31308-1 Шайба | 1 | |
| 4 | 71-53-105СП Стрелка | 1 | |
| 5 | 71-53-613 1 | Табличка | 1 |
| 5 | 71-53-585 1 | Табличка | 1 |
| 5 | 71-42-114 2 | Табличка | 1 |
| 6 | 71-53-612 1 | Табличка | 1 |
| 6 | 71-53-584 1 | Табличка | 1 |
| 6 | 71-42-113 2 | Табличка | 1 |
| 7 | – | Заклепка 4х8.00 | 8 |
| 8 | 261464 Палец | 1 | |
| 9 | 31109 Шайба 1 | 1 | |
| - | 31477-01 Шайба 2 | 1 | |
| 10 | – | Шплинт 6,3х63 | 1 |
| 1 Для ТР20 2 Для ТР12 | |||
