Правила хранения и консервации ОБ10
- Хранить бульдозерное оборудование в закрытых помещениях, под навесом или на открытых оборудованных площадках при обязательном выполнении работ по консервации, герметизации и снятии узлов и деталей, требующих складского хранения.
- При подготовке бульдозерного оборудования к кратковременному хранению провести следующие работы по техническому обслуживанию:
При установке на хранение, снятии с хранения, проведении работ по консервации и расконсервации необходимо соблюдать правила по технике безопасности и противопожарной безопасности.
- установить оборудование на подставку
- очистить оборудование от грязи, грунта и подтеков масла
- восстановить места поврежденной окраски
- плотно закрыть все отверстия, щели и полости, через которые могут попасть атмосферные осадки
- подлежащие консервации поверхности оборудования очистить от механических загрязнений, обезжирить и высушить
- открытые винтовые и резьбовые поверхности, штоки гидроцилиндров, а также внешние сопрягаемые механически обработанные поверхности законсервировать смазкой Литол-24 ГОСТ 21150-87, обернуть штоки парафинированной бумагой и обвязать шпагатом.
Установить оборудование на кратковременное хранение комплектно, без снятия с него сборочных единиц и деталей.
- смазать согласно схеме и таблице смазки
- законсервировать защитной смазкой и упаковать в парафинированную бумагу неокрашенные запасные части (болты, гайки, шайбы)
- упаковать в парафинированную бумагу запасные резиновые кольца и манжеты
- снять рукава высокого давления (РВД) гидросистемы, слить рабочую жидкость из РВД, очистить от грязи, обезжирить, просушить и припудрить тальком поверхность РВД, закрыть отверстия пробками (заглушками) и сдать на склад
- при хранении РВД на оборудовании покрыть их поверхность светозащитным составом или обернуть парафинированной бумагой
- заглушить пробками открытые после снятия РВД отверстия гидроцилиндра Т10 и Б10 и труб
- прикрепить этикетку с указанием даты консервации.
- очистить от пыли
- удалить парафинированную бумагу
- очистить наружные поверхности деталей от консервирующей смазки
- провести ежесменное техническое обслуживание.
Транспортирование ОБ10
Транспортирование бульдозерного оборудования Б-10 может осуществляться автомобильным, железнодорожным, морским и другими видами транспорта в соответствии с правилами перевозки грузов, действующих для этих видов транспорта.Схемы строповок бульдозерного оборудования ОБ10
I. Брус с раскосом 80-52-101сп и тягой
1-раскос, 2-тяга, 3-брус
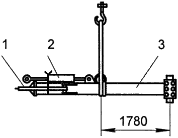
II. Брус с гидрораскосом 50-50-121сп и подкосом
1-подкос, 2-гидрораскос, 3-брус
III. Раскос
IV. Гидрораскос
