- Перед началом эксплуатации дизеля необходимо изучить настоящее руководство и выполнять все его требования и рекомендации. Особое внимание обратить на изучение и выполнение требований раздела 4 «Требования безопасности».
- Проверить комплектность дизеля и установить детали, снятые на время транспортирования (см. упаковочный лист).
- На дизеле с пусковым двигателем не включать одновременно механизм включения и муфту сцепления пускового двигателя.
- При пуске дизеля не включать подачу топлива при давлении масла в системе смазки менее 0,1 МПа (1 кгс/см²).
- В холодное время года не допускается работа дизеля на малой частоте вращения холостого хода более 30 мин при температуре охлаждающей жидкости ниже 65 °C (нормальный температурный режим от 65 до 85 °C), т. к. это может привести к осмолению и заклиниванию колеса турбины, клапанов, изгибу штанг и поломке толкателей.
В случае вынужденной работы дизеля при температуре охлаждающей жидкости ниже 65 °C перед остановкой загрузить дизель и дать ему поработать от 2 до 5 мин при нормальном тепловом режиме, для того, чтобы выгорели образовавшиеся смолистые отложения.
- Перед остановкой дизеля поработать не менее 3 мин на средних и (или) малых оборотах холостого хода.
- Газоконденсатное топливо, по сравнению с дизельным, имеет пониженное значение температуры вспышки и повышенную пожароопасность, что следует учитывать в процессе эксплуатации дизеля, особенно в закрытых помещениях.
Приемка двигателя Д180
Дизель отгружают с предприятия-изготовителя закрепленным на подставке, а прикладываемые к нему принадлежности в отдельном ящике или пакете. Комплект ЗИП согласно упаковочному листу.
Эксплуатационная и товаросопроводительная документация уложена в ящик, прибитый гвоздями с внутренней стороны к верхнему брусу подставки, или полиэтиленовый пакет, помещенный в полость глушителя.
По специальным заказам дизели отгружают упакованными в ящик. При получении дизеля следует проверить:
- количество мест груза по товаросопроводительным документам;
- наличие пломб на ящике или пакете с принадлежностями и на ящике или пакете с документами;
- комплектность дизеля и приложенных к нему ящиков или пакетов;
- соответствие номера дизеля, указанного на фирменной табличке и в паспорте;
- наличие пломб на сборочных единицах и агрегатах дизеля.
Для сохранности заводской установки и регулировки топливной аппаратуры опломбированы: секции и боковая крышка топливного насоса, крышка корректора подачи топлива, крышка регулировочных болтов и большая боковая крышка регулятора (нарушение пломбировки во время эксплуатации не допускается).
Для снятия дизеля с платформ:
- применять устройства грузоподъемностью не менее 30 кН рт);
- поднимать дизель за грузовые проушины, установленные на головках цилиндров дизеля, в соответствии с указаниями, приведенными в приложении 2;
- применять для изготовления строп стальной трос диаметром не менее 10 мм.
Проверить перед зачаливанием дизеля:
- исправность грузоподъемного устройства и опробовать его;
- состояние грузозахватного приспособления и грузового каната;
- надежность крепления проушин к дизелю. Ослабевание гаек крепления, подвижность проушин не допускается;
- крепление опор дизеля к подставке.
Отсоединить перед подъемом дизеля крепления подставки дизеля к платформе, удалить с дизеля незакрепленные предметы. Установить дизель на ровную горизонтальную площадку.
Расконсервация двигателя Д180
Для расконсервации дизеля:
- снять с наружных поверхностей упаковочные материалы;
- удалить консервационные масла и смазки с наружных поверхностей ветошью, смоченной растворителем, протереть насухо.
Расконсервация внутренних поверхностей цилиндропоршневой группы дизеля, пускового двигателя, системы смазки, топливной системы, бачка пускового двигателя не Требуется.
Монтаж двигателя Д180
Конструкция рамы или фундамента для монтажа дизеля должна обеспечивать возможность снятия картера, слив масла из картера, доступ к пробке кожуха маховика, слив воды из системы охлаждения, обслуживание фильтра грубой очистки топлива и проведение других операций технического обслуживания дизеля.
Габаритные и установочные размеры дизеля показаны на рис. 42.
В=1732 мм - для дизеля с ЭССП
Деревянные заглушки и пробки, закрывающие отверстия дизеля, удалять перед установкой соответствующих сборочных единиц и деталей.
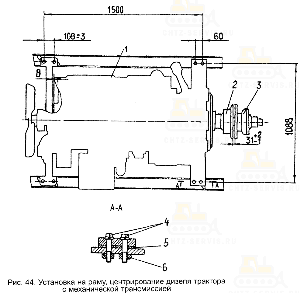
Установка дизеля на раму показана на рис. 43, 44.
2 - гидротрансформатор;
3 - болты;
4 - прокладка;
5 - планка;
А - А - крепление дизеля к раме;
В, С, D, Е - размеры
2 - муфта выключения;
3 - муфта соединительная;
4 - болты;
5 - прокладка;
6 - планка;
А - А - крепление дизеля к раме;
В - зазор между прилегающими плоскостями передней опоры и кожуха шестерен распределения
При установке дизеля на раму для его центрирования необходимо выполнить следующие операции.
Выдержать размер 31(2±1) :
- для двигателя, устанавливаемого на трактор с гидромеханической трансмиссией: между крышкой гидротрансформатора и присоединительным фланцем кардана (рис. 43). Разность размеров В и С, Е и Д должна быть 3+2 мм;
- для двигателя, устанавливаемого на трактор с механической трансмиссией: между раздвинутыми до упора муфтой включения 6 (рис. 45) и тормозком муфты 5.
2 - муфта сцепления;
3 - приспособление;
4 - фланец вала соединяемого агрегата;
5 - муфта соединительная;
6 - муфта выключения;
А - размер для определения смещения осей: разность величин не более 0,6 мм;
В - размер для определения перекоса осей: разность величин не более 0,7 мм
Проверить положение оси коленчатого вала относительно оси вала соединяемого агрегата. При проверке пользоваться жестким приспособлением 3. Смещение осей должно быть не более 0,3 мм, перекос не более 0,7 мм.
Выставить болтами размеры А и В в верхней точке маховика от 1 до 1,5 мм, сделать метку и, поворачивая маховик и фланец с приспособлениями, замерить размеры А и В в последующих трех положениях через каждые 90°. Разность замеров в четырех точках размера А допускается не более 0,6 мм, размера В - не более 0,7 мм.
Указанные размеры обеспечиваются установкой набора прокладок 5 (рис.44) под опоры дизеля и перемещением дизеля вправо или влево. Максимальная толщина набора не более 18 мм. При толщине набора более 10 мм устанавливать толстые прокладки с приваркой нижних к раме и последующим изготовлением отверстий под болты. Перед сверлением отверстий под болты крепления передней опоры дизеля обеспечить зазор В (1,5(2,5±0,5)) мм между прилегающими плоскостями опоры и кожуха шестерен распределения смещением опоры в осевом направлении.
Для крепления дизеля использовать болты с диаметром резьбы 20 мм, шагом 1,5 мм из материала с пределом прочности на разрыв не ниже 9,81 МПа (100 кгс/см²).
В случае несовпадения отверстий в опорах дизеля с ранее обработанными отверстиями в раме трактора, указанные отверстия в раме заварить и обработать вновь.
Отверстия в опорах и раме обрабатывать совместно до диаметра 20+0,13 мм и установить призонные болты 4 с диаметром стержня 200,040±0,073мм.
Затягивать болты моментом в соответствии с приложением 3.
При использовании дизеля в качестве силового агрегата без муфты сцепления дополнить массу маховика массой с моментом инерции не менее 2,7 кг-м2 (27,7 кгс-см-с2), жестко соединенной с маховиком и отбалансированной с точностью 0,015 Нм (150 г-см).
Детали привода механизма включения установить, как показано на рис. 30. При выключенном положении шестерни механизма включения и вертикальном положении рукоятки 3 (рис. 30) установить рычаг 23 до касания в торец пятки механизма включения. Подсоединить тягу 14 к рычагу переходного мостика 22. Вращением регулировочной вилки тяги 14 добиться совмещения отверстий вилки и рычага 15, после чего укоротить тягу 14 на один оборот вилки. Соединить вилку с рычагом 15 пальцем и зашплинтовать.
Установить и закрепить радиатор. Отрегулировать равномерный зазор между лопастями вентилятора и отверстием диффузора, смещая диффузор относительно болтов его крепления. Наименьший радиальный зазор 5 мм.
Подготовка нового дизеля к эксплуатации двигателя Д180
Осмотреть и подготовить аккумулятор.
Проверить уровень масла и при необходимости долить:
- в картер и корпус редуктора пускового двигателя до уровня верхней метки на масломерной линейке;
- в корпус топливного насоса до нижней кромки маслоналивного отверстия;
- в воздухоочиститель пускового двигателя до нижней кромки маслоотражателя;
- в корпус конических шестерен пускового двигателя (объем масла должен быть 0,2 л);
Залить в картер (32±2) л свежего масла.
Смазать:
- подшипники шкива и натяжного ролика ремней привода вентилятора до выхода свежей смазки из-под уплотнения;
- переднюю опору дизеля через масленку до выхода свежей смазки из зазоров опоры;
- подшипник валика механизма проворачивания до выхода смазки в зазор между кронштейном и валиком;
Масла и смазки, применяемые для заправки и смазки дизеля, указаны в таблице смазки (подраздел 8.4). Места заправки и смазки показаны в карте смазки (рис. 46).
Закрыть кран 12 (рис. 18) слива охлаждающей жидкости из блока и кран 17 радиатора. Заправить систему охлаждения охлаждающей жидкостью согласно п. 3.7.
Проверить, нет ли утечки через фланцевые и шланговые соединения. При необходимости соединения подтянуть.
Проверить надежность крепления сборочных единиц и агрегатов дизеля и при необходимости подтянуть. Проверить и отрегулировать натяжение ремней привода вентилятора и генератора согласно подразделу 8.8. Проверить отсутствие воды в полости воздухоочистителя дизеля. Заправить топливо в бак дизеля и бензин в бачок пускового двигателя.
В зависимости от климатических условий в дизеле применяется дизельное топливо:
- летнее Л-0,2-40 для эксплуатации при температуре окружающего воздуха 0°C и выше;
- зимнее 3-0,2 минус 35° с температурой застывания топлива минус 35°C для эксплуатации при температуре окружающего воздуха от 0 до минус 20°C;
- зимнее 3-0,2 минус 45° с температурой застывания топлива минус 45°C для эксплуатации при температуре окружающего воздуха от 0° до минус 30°C;
- арктическое А-02 для эксплуатации при температуре окружающего воздуха до минус 50°C.
Для пускового двигателя П-23У применять бензин автомобильный А-76.
Возможна замена рекомендованного дизельного топлива авиационным керосином ТС-1, Т-1, Т-2, РТ ГОСТ 10227-86 и Т-6 ГОСТ 12308-80, осветительным керосинами КО-ЗО, КО-25, КО-20 ОСТ 3801407-86, а также керосинами для технических целей. Можно также применять все виды стабильных газовых конденсатов с кинематической вязкостью не ниже 1,0 мм2/с при 20°C с содержанием вредных примесей, не превышающих норм для топлив дизельных и температурой вспышки не ниже 12°C.
При работе на топливах-заменителях без перерегулировки топливной аппаратуры из-за пониженной плотности мощностные показатели дизеля могут снижаться до 10% без ухудшения топливной экономичности. Ресурс работы дизеля не снижается. При отрицательных температурах окружающей среды и непрогретом дизеле на топливах-заменителях продолжительность пуска может увеличиваться.
Газоконденсатное топливо по сравнению с основным топливом имеет пониженное значение температуры вспышки и повышенную степень пожароопасности, что следует учитывать в процессе эксплуатации дизеля, особенно в закрытых помещениях. Рекомендации по применению топлив при эксплуатации дизеля в других странах приведены в таблице 6.
| Страна, спецификация | Марка дизельного топлива ГОСТ 305-82 | ||
| летнее | зимнее | арктическое | |
| Великобритания | |||
| BS 2869-83 | ClassС1; С2; ClassА1; А2; Class М1 | ||
| Канада | |||
| CAN 2-3.6-М-83 | TYPE В | ||
| США | |||
| ASTM 975-81 | |||
| Швеция | |||
| SS155403-81 | |||
| Япония | |||
| JIS К-2204-83 | |||
| Югославия | |||
| JUS В. Н2.410-73 | |||
| Германия | |||
| TGL 4938-78 | |||
| Чехия | |||
| CSN 656506-74 | |||
| Польша | |||
| Венгрия | |||
| MSZ 1627-74 | 0; -10 Коппуи | ||
| Болгария | |||
| БДС 8884-82 | Л; ПЕ; 3; О | ||
| Румыния | |||
| STAS 240-82 | ROMAN; +5; -5 -10; -15; -25; LD | ||
Пусковой двигатель двигателя Д180
Пусковой двигатель П-23У (рис. 22, 23) прикреплен к блоку дизеля с левой стороны и состоит из собственно пускового двигателя, муфты сцепления, редуктора с механизмом включения и механизма ручного проворачивания вала. На двигатель устанавливается стартер, магнето, свечи зажигания, обеспечивающие пуск и работу пускового двигателя.
2 - шатун;
3 - заглушка;
4 - палец;
5 - блок - картер;
6 - головка блока цилиндров;
7 - кольцо поршневое;
8 - поршень;
9 - вал коленчатый;
10 - муфта сцепления;
11 - стартер;
12 - редуктор;
13 - пробка;
14 - корпус шестерен распределения
Остовом пускового двигателя служит блок с двумя вертикальными расточками, в которые вставлены поршни. По этим расточкам (диаметру цилиндров) блоки делятся на группы (А, Б, В, Г), обозначения которых выбиты на верхней привалочной плоскости блока. К блоку крепятся: снизу - картер, сверху - головка блока.
Головка блока имеет две литые камеры сгорания, два отверстия для запальных свечей, водяную рубашку.
Коленчатый вал с двумя коренными и двумя шатунными шейками вращается в двух шарикоподшипниках.
Маховик установлен на коническом хвостовике коленчатого вала и имеет зубчатый венец для соединения с шестерней стартера при запуске и внутренние шлицы для соединения с ведущим диском муфты сцепления.
Поршень с тремя компрессионными и одним маслосъемным кольцами. Размерная группа поршня выбита на днище. Двигатель комплектуется блоком и поршнями одной размерной группы.
Механизм газораспределения состоит из шестерни привода, распределительного вала, толкателей с регулировочными болтами, впускных и выпускных клапанов с направляющими втулками, пружин и сухариков.
Система охлаждения общая с дизелем. Охлаждающая жидкость, нагревающаяся при работе пускового двигателя, обеспечивает частичный прогрев дизеля при пуске.
Смазка деталей пускового двигателя осуществляется масляным туманом: во время вращения коленчатого вала выступы крышек нижних головок шатунов захватывают масло из картера и разбрызгивают его. Масло в картер заливается через отверстие в кожухе распределительных шестерен, закрываемое сапуном. Картер сообщается с атмосферой через сапун.
Для обеспечения питания двигателя воздухом и топливом установлены воздухоочиститель, топливный бачок с фильтром-отстойником, регулятор, карбюратор.
2 - кнопка утолителя мембраны;
3 - крышка топливной камеры;
4 - рычаг воздушной заслонки;
5 - винт регулирования качества горючей смеси;
6 - винт ограничения дроссельной заслонки;
7 - провод;
8 - свеча зажигания;
9 - крышка;
10 - элемент фильтрующий;
11 - корпус;
12 - маслоотражатель;
13 - карбюратор;
14 - коллектор;
15 - втулка клапана;
16 - фильтр подсасывающий;
17 - клапан;
18 - крышка;
19 - болт регулировочный;
20 - контргайка;
21 - толкатель клапана;
22 - механизм проворачивания;
23 - масломерная линейка пускового двигателя;
24 - вал распределительный;
25 - масломерная линейка редуктора;
26 - проока;
А - 0,2 - 0,25 мм;
В - по уровню нижней кромки маслоотражателя
Центробежный регулятор установлен на переднем конце распредвала. Он воздействует через тягу на рычаг дроссельной заслонки 1 (рис.23) карбюратора, автоматически, в зависимости от нагрузки, регулирует количество горючей смеси, поступающей в цилиндр, сохраняя тем самым постоянную частоту вращения коленвала и ограничивает максимальную частоту вращения холостого хода.
Карбюратор однокамерный, мембранного типа. Для облегчения пуска двигателя в крышке 3 (рис.23) топливной камеры установлена кнопка 2 утолителя мембраны. Рычаг воздушной заслонки 4 через тягу 10 (рис.30) соединен с ручкой воздушной заслонки 1 (рис.30).
Редуктор имеет две передачи: ускоренную (прямую) обеспечивающую пусковые обороты дизеля, и замедленную, предназначенную для предварительной прокрутки дизеля в холодное время года. На валу редуктора смонтирован механизм включения, имеющий шестерню, вводимую при пуске в зацепление с венцом маховика дизеля.
При пуске дизеля крутящий момент пускового двигателя на маховик дизеля передается через муфту сцепления, двухступенчатый редуктор, шестерню привода механизма включения.
Электрооборудование двигателя Д180
На дизеле устанавливается генератор (рис. 24) мощностью 1000 Вт и напряжением 28В, датчики давления топлива, давления масла и температуры охлаждающей жидкости.
2 - винт М5х9,5;
3 - втулка ротора;
4 - крышка передняя;
5 - ротор;
6 - блок выпрямительный;
7 - крышка задняя;
8 - шарикоподшипник 8 - 180502К1С9;
9 - крышка регулирующего устройства;
10 - гайка М5;
11 - болт стяжной;
12 - статор;
13 - катушка возбуждения;
14 - винт М5х25;
15 - крышка подшипника;
16 - вентилятор;
17 - подшипник 6 - 180603К4С9;
18 - гайка М14;
19 - выход нулевой точки;
20 - конец обмотки возбуждения;
21 - начало обмотки возбуждения;
22 - вывод дополнительных диодов;
23 - регулятор напряжения 2412.3702;
24 - винт сезонной регулировки;
25 - болт М4х33;
26 - гайка М4;
27 - изолятор фазный
Генератор — бесконтактная пятифазная электрическая машина с односторонним электромагнитным возбуждением, встроенным полупроводниковым выпрямителем и регулятором напряжения на интегральных схемах. Привод ременный от шкива вентилятора.
На задней крышке генератора имеются выводы (клеммы):
а) Пуск дизеля при температуре окружающего воздуха выше 0°C: — включить «массу»:
- вставить ключ в гнездо выключателя ВК-862 (в первое или исходное положение, без поворотов);
- установить рукоятку управления подачей топлива в среднее положение;
- провернуть ключ в выключателе ВК-862 (по часовой стрелке во второе положение), включив МЗН. Время непрерывной работы насоса не должно превышать 1 мин;
- после того, как давление масла в системе смазки дизеля будет не менее 0,1 МПа (1 кгс/см²) повернуть ключ в третье положение «стартер включен». Продолжительность работы стартера не более 15 с. Только при регулярных вспышках в цилиндрах дизеля допускается непрерывная работа стартера до 15 с;
- после того, как дизель начал работать, отключить стартер, повернув ключ в исходное положение.
б) Пуск дизеля при температуре окружающего воздуха от 0 до минус 10 °C:
- выполнить три первые операции пуска, как указано в пункте «а»;
- прокачать систему ручным топливоподкачивающим насосом, в течение не менее 1 мин;
- повернуть ключ во второе положение (включить МЗН) для создания давления масла не менее 0,1 Мпа (1 кгс/см²);
- включить ЭФУ;
- после загорания контрольной лампы, указывающей о готовности ЭФУ к работе, повернуть ключ в положение «стартер включен» на время не более 15 с, удерживая кнопку ЭФУ во включенном положении.
При неудачной попытке пуска дизеля откройте клапан на секциях топливного насоса. Прокачайте топливную систему подкачивающим насосом, совершив 10-20 подкачек. После чего пуск повторите.
При неудавшихся трех попытках выяснить причину, устранить ее и повторить пуск. Между включениями стартера делать выдержки от 1 до 1,5 мин не менее.
После пуска дизеля отключить стартер, а кнопку ЭФУ продолжать удерживать во включенном положении до выхода дизеля на устойчивый режим работы, но не более 60 с после отключения стартера. Прогреть дизель на малых, средних, а затем на максимальных частотах вращения. Увеличивать или уменьшать частоту вращения плавно.
Дизель считается прогретым и может загружаться только в том случае, если температура охлаждающей жидкости в системе охлаждения не ниже 40 °C.
При использовании масла SAE-20 в системе смазки дизеля допускается пуск электростартером без пускового подогревателя до температуры минус 15 °C.
в) Пуск дизеля при температуре окружающего воздуха ниже минус 15 °C:
- провести предпусковую подготовку дизеля к пуску с помощью подогревателя (подогреватель заказывается отдельно);
- дальнейший порядок пуска согласно пункту «б».
Пуск дизеля пусковым двигателем двигателя Д180
Пуск дизеля пусковым двигателем производится в следующем порядке:
- открыть кран бензобака пускового двигателя;
- включить аккумуляторные батареи и зажигание;
- установить рукоятку декомпрессора в положение «Пуск» (впускные клапаны открыты);
- закрыть воздушную заслонку карбюратора.
Включить стартер, но не более чем на 10 с. При отрицательных температурах допускается длительность работы до 15 с. Исправный двигатель пускается после двух-трех включений стартера с интервалами между включениями от 15 до 20 с, которые необходимы для предохранения аккумуляторной батареи и стартера от выхода из строя. Включение стартера при не остановившейся пусковой шестерне ведет к поломке зубьев шестерни стартера и венца маховика.
Отключите стартер с началом самостоятельной работы двигателя.
При неудачной попытке запуска двигателя после двух или трех включений стартера выяснить причины плохого запуска, устранить неисправность и повторить пуск.
Если пусковой двигатель не работал более суток, то перед пуском повернуть коленчатый вал на 2—3 оборота вручную рукояткой из ЗИПа.
Не проворачивать коленчатый вал пускового двигателя долго при закрытой воздушной заслонке, так как в цилиндры двигателя подается обогащенная топливом смесь. Эта смесь смывает со стенок цилиндров смазку и тем самым затрудняет дальнейший пуск двигателя (нет компрессии).
Открыть воздушную заслонку полностью и прогреть двигатель на малой и средней частотах вращения коленчатого вала, после того как пусковой двигатель начнет работать устойчиво на малой частоте вращения. Не рекомендуется длительная (более 2 мин) работа пускового двигателя при максимальной частоте вращения холостого хода.
Работа на холостом ходу необходима для полного распределения смазки двигателя перед его загрузкой, а также для прогрева дизеля при подготовке его к пуску.
При затруднении пуска в холодное время года или из-за недостатка топлива произвести подкачку топлива 5 -10-кратным нажатием кнопки утолителя мембраны 2 (рис. 23). Пуск двигателя при этом производится с закрытой воздушной заслонкой.
Установить рукоятку редуктора пускового двигателя в холодное время года на замедленную передачу (нижнее фиксированное положение), в теплое время года - на ускоренную передачу (верхнее фиксированное положение). Затем ввести в зацепление шестерню механизма включения с венцом маховика дизеля, возвратить рычаг механизма включения в исходное вертикальное положение и плавно включить муфту сцепления пускового двигателя.
Во избежание поломки блокировочного устройства и создания аварийной ситуации не включать одновременно механизм включения и муфту сцепления пускового двигателя.
Переключение редуктора из положения ускоренной передачи в положение замедленной (или наоборот), а также ввод в зацепление шестерни механизма включения с венцом маховика дизеля осуществлять с обязательным торможением вала муфты сцепления пускового двигателя.
Для этого следует приложить усилие (от себя) к рычагу управления муфтой сцепления пускового двигателя, чем достигается торможение вала муфты. Это необходимо для безударного переключения шестерен.
Для включения муфты сцепления перевести рычаг включения муфты «на себя» до щелчка (фиксации), после чего снять усилие с рычага во избежание выхода из строя нажимного подшипника.
Как только пусковой двигатель начнет проворачивать коленчатый вал дизеля на замедленной передаче с нормальной частотой вращения, выключить муфту сцепления пускового двигателя, установить рычаг переключения редуктора в положение ускоренной передачи и снова включить муфту сцепления. Затем рычаг механизма декомпрессора поставить в положение закрыто.
Прогреть дизель, вращая коленчатый вал пусковым двигателем, а через 1-2 минуты включить подачу топлива, переведя рукоятку управления подачей топлива вверх, в среднее положение. Не допускается включать подачу топлива при давлении масла в системе смазки дизеля менее 0,1 МПа (1 кгс/см²). Если пуск дизеля не удается, то выключить подачу топлива и продолжать прогрев, после чего снова включить подачу топлива.
После пуска дизеля выключить муфту сцепления пускового двигателя несмотря на то, что шестерня механизма включения разъединяется с венцом маховика автоматически. Остановить пусковой двигатель, выключив зажигание и закрыв кран бензобака пускового двигателя.
Прогреть дизель после остановки пускового двигателя на малой, средней и максимальной частотах вращения. Увеличивать и уменьшать частоту вращения плавно.
Работа и остановка дизеля двигателя Д180
Если система смазки дизеля заправлена перед пуском 32±2 л, то необходимо дать ему проработать от 2 до 3 мин, затем остановить. Проверить через 10 мин уровень масла и долить до верхней метки масломерной линейки. У работающего дизеля (на малой частоте вращения) уровень масла в картере должен быть между метками масломерной линейки.
Проверить на слух работу дизеля. При работе дизеля на различных частотах вращения не должно появляться посторонних шумов и стуков.
При достижении температуры охлаждающей жидкости в системе охлаждения 40° С разрешается дизель загружать.
Во время работы поддерживать температуру охлаждающей жидкости в пределах от 65 до 85 °C. Для обеспечения этого теплового режима на холостом ходу необходимо устанавливать повышенную частоту вращения, вплоть до максимальной.
В первое время работы дизеля и пускового двигателя возможен выброс масла из выхлопных труб и дымный выхлоп, так как в цилиндры дизеля и пускового двигателя залито консервационное масло.
Для остановки дизеля прекратить подачу топлива, для чего: установить рукоятку управления подачей топлива в положение малой частоты вращения на время от 2 до 3 мин, затем перевести рукоятку в крайнее нижнее положение.
Перед началом эксплуатации двигателя Д180
Рекомендуется первые 50 моточасов работы загружать новый или капитально отремонтированный дизель постепенно по следующим режимам.
Работать первые пять моточасов под нагрузкой, составляющей 25%, десять моточасов - 40%, пятнадцать моточасов - 60%, десять моточасов - 75%, и десять моточасов - 90% от эксплуатационной мощности дизеля.
Остановить дизель при появлении ненормальных стуков и шумов немедленно и устранить неисправность.
Следить за цветом выхлопных газов (см. подраздел 7.1) и за показаниями приборов.
Показания контрольных приборов прогретого дизеля при номинальной частоте вращения:
- давление масла дизеля от 0,2 до 0,5 МПа (от 2 до 5 кгс/см²);
- температура охлаждающей жидкости от плюс 70 до плюс 80° С; максимально допустимая температура 100° С;
Проводить при эксплуатации дизеля техническое обслуживание в установленные сроки. Провести после первых 50 моточасов работы предусмотренное техническое обслуживание дизеля.
Эксплуатация дизеля Д180 при низких температурах окружающего воздуха
Смазывать и заправлять сборочные единицы дизеля по таблице смазки (см. подраздел 8.4).
Заливать масло в картер дизеля непосредственно перед пуском.
Заливать топливную систему топливом соответствующей марки (см. подраздел 5.4).
Заполнять систему охлаждения дизеля низкозамерзающей жидкостью (НЗЖ) (см. п. 3.7).
Следить во время эксплуатации за количеством НЗЖ в системе.
Доливать периодически в систему чистую воду, так как, если нет утечек НЗЖ, количество может уменьшаться за счет испарения воды.
Использовать только чистые сосуды при работе с НЗЖ. Попадание в НЗЖ нефтепродуктов приводит к вспениванию и ухудшению охлаждающих свойств жидкости.
Не хранить НЗЖ в оцинкованном сосуде, так как она взаимодействует с цинком.
Не использовать в качестве охлаждающей жидкости нефтепродукты, это приводит к ухудшению работы дизеля и преждевременному выходу из строя из-за перегрева деталей и разрушения резиновых деталей.
Для прогрева пускового двигателя и дизеля при низких температурах применять подогреватель, который поставляется по требованию заказчика.
Пустить дизель, прогреть его на холостом ходу при работе на максимальной частоте вращения. Дизель загружать при температуре охлаждающей жидкости не ниже 40 °C.
Не допускать длительную (более 30 мин) работу дизеля на холостом ходу при малой частоте вращения и температуре охлаждающей жидкости ниже 70 °C (нормальный температурный режим 65-85 °C), так как это может привести к осмолению и заклиниванию клапанов, изгибу штанг, поломке толкателей и отложению нагара в проточной части турбокомпрессора. В случае вынужденной работы дизеля при температуре охлаждающей жидкости ниже 65 °C перед остановкой загрузите дизель и дайте ему поработать от 2 до 5 минут при нормальном тепловом режиме для того, чтобы выгорели образовавшиеся смолистые отложения.
Слить в чистую тару масло из картеров дизеля и пускового двигателя, пока оно не остыло, при остановке дизеля на длительное время.
Залить в картеры пускового двигателя и дизеля масло, нагретое до температуры от плюс 80 до плюс 90 °C, и пустить пусковой двигатель.
В исключительных случаях при отсутствии НЗЖ допускается систему охлаждения заправлять водой согласно п. 3.7.
При температуре воздуха минус 10 °C и выше заливать воду, нагретую от плюс 90 до плюс 95 °C, открыв сливные краны радиатора и блока. Закрыть краны, когда из них начнет вытекать теплая вода. Систему заполнить горячей водой.
При температуре воздуха ниже минус 10 °C пропустить через радиатор и блок, при открытых сливных кранах два-три ведра горячей воды, закрыть краны и заполнить горячей водой систему. Через 3-4 мин слить воду и вновь заполнить систему горячей водой. Одновременно с прогревом водой залить в картер дизеля масло, нагретое до температуры 80-90 °C.
При длительной стоянке неработающего дизеля слить воду из системы охлаждения. После того как вода будет слита, сливные краны в радиаторе и в крышке блока оставить открытыми. После слива прокрутить коленчатый вал три-четыре оборота рукояткой механизма проворачивания.
