На дизелях Д-160 с электростартерной системой пуска вместо пускового двигателя П-23У установлен электростартер мощностью 8,2 кВт.
Напряжение электрооборудования агрегата, необходимое для работы электростартера, составляет 24 В, электросхема пускового подогревателя, поставляемого по требованию заказчика, включается на напряжение 12 В.
На маховике дизеля вместо зубчатого венца с косыми зубьями установлен зубчатый венец с прямыми зубьями, а на носке коленчатого вала 16-03-112сп дизеля - гайка-храповик для проворачивания коленчатого вала специальной рукояткой, имеющейся в ЗИП.
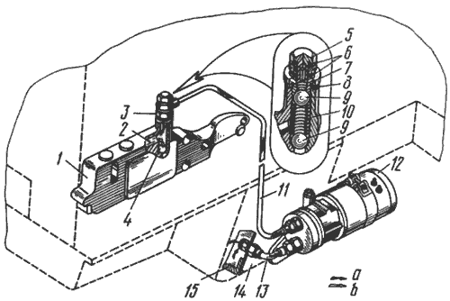
Для облегчения пуска при минусовых температурах окружающего воздуха на дизель можно установить электрофакельное устройство и предпусковой подогреватель ПЖД-30.
Электрофакельное устройство состоит из факельной свечи 9 (см. рис. 8) и электромагнитного клапана 10, закрепленных на патрубке между турбокомпрессором и впускным коллектором дизеля, а также резистора с электротермическим реле, реле блокировки и выключателя, которые приобретаются и устанавливаются отдельно эксплуатирующей организацией.
Топливо для ЭФУ из фильтра тонкой очистки 5 по топливопроводу 11 поступает к электромагнитному клапану 10 и, после его открытия, к штифтовой свече 9.
Принцип действия ЭФУ основан на испарении топлива в штифтовой свече, установленной во впускном трубопроводе дизеля, смешивании паров топлива с воздухом в горючую смесь и ее воспламенении от спирали накаливания, расположенной в свече.
Факел пламени нагревает поступающий в цилиндр дизеля воздух и тем самым облегчает пуск дизеля.
В систему смазки дизеля (рис. 52) включены маслозакачивающий насос с электрическим приводом и клапан 3 двойного действия, установленный в маслораспределительную плиту 1. Маслозакачивающий насос устанавливается на люке картера со стороны масломерной линейки и служит для создания давления масла в системе смазки дизеля и турбокомпрессора.
Маслозакачивающий насос МЗН-2 из резервуара 31 (см. рис. 15) картера по трубопроводу 11 (см. рис. 52) подает масло к маслораспределительной плите 1.
Клапан 3 двойного действия при работе МЗН перед пуском перекрывает канал 4, ведущий к масляной центрифуге и открывает канал 2 подвода смазки в главную масляную магистраль и в турбокомпрессор. При работе дизеля клапан 3 двойного действия перекрывает канал, соединенный с трубопроводом 11 подвода смазки от МЗН и открывает канал 4.
Изменена схема подвода охлаждающей жидкости к дизелю. Насос 16-08-140сп 8 системы охлаждения (рис. 53) перекачивает охлаждающую жидкость по патрубку 4 только в блок дизеля без ответвления в пусковой двигатель.
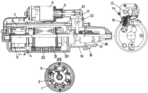
Стартер 251.3708 (рис. 54), представляет собой электродвигатель постоянного тока с принудительным вводом шестерни привода в зацепление с маховиком и самовыключением шестерни после пуска дизеля.
Для ввода шестерни в зацепление с венцом маховика и включения цепи питания стартера служит электромагнитное тяговое реле, а для автоматического выключения шестерни (после пуска) применяется привод с муфтой свободного хода.
Стартер устанавливается на кронштейне 3 (рис. 55), укрепленном на кожухе маховика, фиксируется штифтом 5 и крепится к кронштейну двумя ленточными хомутами 2. При установке стартера на дизель выдерживать расстояние между привалочной плоскостью стартера и торцом зубчатого венца маховика (обращенным к стартеру), равное (46±0,14) мм и регулируемое прокладками 6.
Изменена кинематическая схема дизеля и номенклатура подшипников качения.
Пуск Д-160
Для пуска дизеля при температуре окружающего воздуха выше 0°С необходимо
- не вставляя ключ в гнездо выключателя ВК-862, включить «массу»;
- вставить ключ в гнездо выключателя ВК-862 (первое положение);
- включить МЗН поворотом ключа по часовой стрелке во второе положение, время непрерывной работы насоса не должно превышать 1 мин;
- не включать подачу топлива, пока не погаснет контрольная лампа минимального давления масла на входе в турбокомпрессор;
- включить подачу топлива и повернуть ключ в третье положение СТАРТЕР ВКЛЮЧЕН на время не более 20 с;
- при неудачной попытке пуск дизеля повторить, как указано выше, с выдержками между включениями 1-1,5 мин. После трех неудавшихся попыток выяснить причину, устранить ее и повторить пуск;
- после того как дизель начнет работать, отключить стартер, установив ключ в исходное положение;
- после пуска прогреть дизель, как указано в подразделе 6.5;
- закрыть сначала вентиль фильтра тонкой очистки 51-70-137СП, а затем вентили секций топливного насоса.
Для пуска дизеля при температуре окружающего воздуха от 0 до минус 10°С
- создать ручным топливоподкачивающим насосом 51-71-4сп такое давление в топливной системе, при котором контрольная лампа минимального давления погаснет;
- прокачать систему смазки и включить «массу»;
- включить ЭФУ и удерживать кнопку выключателя во включенном состоянии в течение всего времени пуска. Через 1,5-2 мин после включения ЭФУ включается электромагнитный клапан, через который топливо поступает к свече накаливания, и загорается контрольная лампа ЭФУ, сигнализирующая о готовности к включению электростартера;
- включить подачу топлива и повернуть ключ в третье положение СТАРТЕР ВКЛЮЧЕН на время не более 20 с;
- отпустить после пуска дизеля ключ выключателя ВК-862, а кнопку выключателя ЭФУ удерживать в положении ВКЛЮЧЕНО до выхода дизеля на устойчивый режим работы, но не более 60 с после отключения стартера;
- при неудачной попытке пуск дизеля повторить, как указано выше, с выдержками между включениями 1-1,5 мин. После трех неудавшихся попыток выяснить причину, устранить ее и только после этого повторить пуск;
- после пуска прогреть дизель, как указано в подразделе 6.5.
При использовании масла SAE-20W в картере дизеля допускается пуск электростартером без предпускового подогревателя до температуры минус 15°С.
Пуск дизеля при температуре окружающего воздуха ниже минус 15°С
Необходимо провести предпусковую подготовку дизеля к пуску с помощью предпускового подогревателя.
Техническое обслуживание дизеля Д-160 с ЭСП
При регулировании механизма газораспределения или топливной аппаратуры дизеля коленчатый вал 16-03-126сп дизеля проворачивать через храповик на переднем конце коленчатого вала специальной рукояткой, имеющейся в ЗИП.
Через 1000 моточасов проверять крепление стартера к дизелю.
При сезонном обслуживании (перед осенне-зимней эксплуатацией) выполнить следующие работы:
- слить остатки летнего топлива из трубопровода ЭФУ;
- промыть в бензине и продуть воздухом фильтр и жиклер свечи ЭФУ;
- при отложениях на сетке и гильзе свечи ЭФУ промыть в бензине и продуть воздухом через топливоподводящий штуцер, предварительно вынув фильтр и жиклер;
- проверить герметичность магистрали, подводящей топливо к свече ЭФУ.
Неисправности и способы их устранения дизеля Д-160 с ЭСП
| Возможная неисправность | Способ устранения |
| Дизель недостаточно разогрет | Провести предпусковой разогрев |
| Разряжены батареи | Зарядить батареи или заменить |
| Несоответствие сорта масла в картере дизеля сезону эксплуатации | Заменить масло по сезону |
| Подгорели контакты тягового реле | Зачистить контакты |
| Нарушение или загрязнение контактов в цепях управления и питания | Контакты зачистить, соединения закрепить |
| Возможная неисправность | Способ устранения |
| Разряжены батареи | Зарядить или заменить батареи |
| Обрыв удерживающей обмотки реле | Заменить тяговое реле |
| Возможная неисправность | Способ устранения |
| Повреждение зубьев венца 03618-1 маховика или деталей привода | Заменить венец маховика или детали привода, имеющие повреждения |
| Шестерня привода стартера останавливается в промежуточном положении | Очистить и смазать шлицы вала привода стартера |
| Возможная неисправность | Способ устранения |
| Зависли щетки в щеткодержателях | Снять стартер. Разобрать и очистить боковые поверхности щеток, проверить состояние пружин |
| Обрыв в цепях управления или питания стартера | Обнаружить и устранить обрыв |
| Неисправность тягового реле включения стартера | Заменить неисправное реле |
