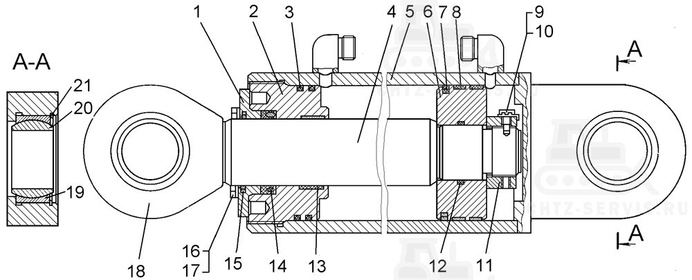
| Поз. | Номенклатурный номер | Наименование детали | Кол-во |
| - | 50-50-225СП Гидроцилиндр | 1 | |
| 1 | 50-50-228-01 Фланец | 1 | |
| 2 | 50-50-226 Крышка | 1 | |
| 3 | 700-40-7937 Кольцо | 2 | |
| 4 | 50-50-233СП Шток | 1 | |
| 5 | 50-50-169СП Корпус | 1 | |
| 6 | 50-50-227 Поршень | 1 | |
| 7 | - | Уплотнение поршневое комбинированное Е13-160 с поджимным кольцом 02-160 | 1 |
| 8 | - | Втулка опорнонаправляющая поршневая Е21-160-15-4 | 1 |
| 9 | 700-35-2164 Винт стопорный | 1 | |
| 10 | - | Шайба 2.12.01.05 | 1 |
| 11 | 50-50-155 Гайка | 1 | |
| 12 | 700-40-7936 Кольцо | 1 | |
| 13 | - | Втулка опорнонаправляющая штоковая Е22-080-30-3.0 | 1 |
| 14 | - | Манжета ЕЗ-080-100-15 | 1 |
| 15 | - | Грязесъемник Е50-А-063-5 | 1 |
| 16 | 28579 Болт | 6 | |
| 17 | - | Шайба 12 ОТ 65Г 09 | 6 |
| 18 | 50-50-151 Проушина | 1 | |
| 19 | 80-52-127 Кольцо | 1 | |
| 20 | 80-52-128 Втулка | 2 | |
| 21 | 700-58-2533 Кольцо | 2 | |
