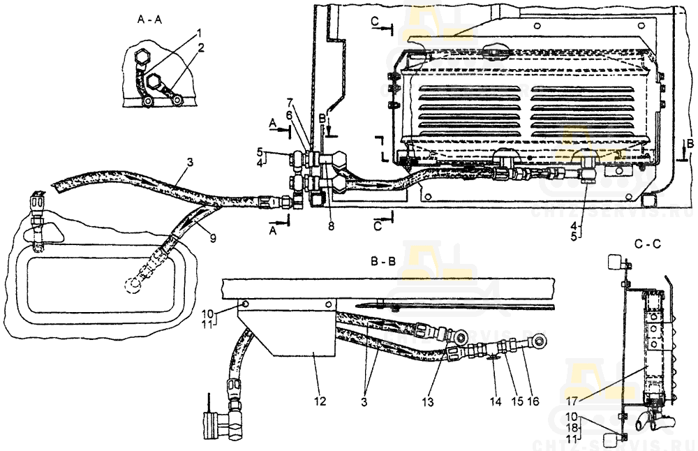
| # | Номенклатурный номер | Наименование детали | Кол-во |
| 1 | 50-47-203СП Труба | 1 | |
| 2 | 50-47-202СП Труба | 1 | |
| 3 | 50-26-485-04СП Рукав 16 | 3 | |
| 4 | 700-41-3306 Болт полый | 4 | |
| 5 | 40910 Кольцо | 8 | |
| 6 | 700-30-2427 Гайка | 2 | |
| 7 | 700-40-9082 Уплотнение | 2 | |
| 8 | 50-47-204СП Переходник | 2 | |
| 9 | 50-26-485-02СП Рукав 16 | 1 | |
| 10 | - | Болт М8-6gх16.88.35 | 6 |
| 11 | - | Шайба 8.01.019 | 6 |
| 12 | 50-47-215 Защита | 1 | |
| 13 | 50-56-109СП Угольник | 1 | |
| 14 | - | Кран ½ типа 54/А фирмы «IVR» | 1 |
| 15 | 700-41-3876 Переходник | 2 | |
| 16 | 50-47-201СП Переходник | 1 | |
| 17 | 50-47-205СП Отопитель масляный | 1 | |
| 18 | - | Шайба 8Т 65Г 09 | 4 |
