| Поз. | Номенклатурный номер | Наименование детали | Кол-во |
| - | - | Батарея аккумуляторная для тропиков 6СТ-182ЭМСТ | 2 |
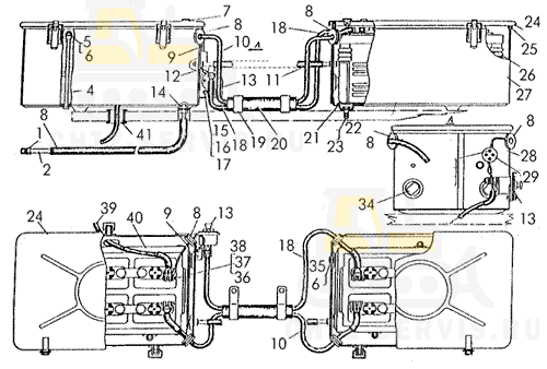
| - | 50-10-394СП | Установка аккумуляторных батарей | 1 |
| - | - | Штепсельная розетка для тропиков 47К-Т | 1 |
| - | 50-10-799СП Штуцер | 1 | |
| 1 | 41181 Ниппель | 4 | |
| 2 | 50-10-96 Трубка | 4 | |
| 3 | 700-46-2161-01 Шланг | 1 | |
| 4 | 50-10-132 Стяжка | 6 | |
| 5 | - | Гайка М10Х6.019 | 6 |
| 6 | 31308-1 Шайба | 12 | |
| 7 | 700-40-5565 Пистон | 2 | |
| 8 | 700-40-7419 Втулка | 4 | |
| 9 | 50-10-421СП Провод 77 | 1 | |
| 10 | 50-10-279СП Провод 19 | 1 | |
| 11 | 700-46-2161 Шланг | 1 | |
| 12 | 21-10-213СП Провод | 1 | |
| 13 | - | Выключатель массы ВК-318Б | 1 |
| 14 | 3010 Гайка | 3 | |
| 15 | - | Болт М6Х16.58.019 | 3 |
| 16 | - | Гайка М6Х6.019 | 3 |
| 17 | - | Шайба 6Т65Г09 | 3 |
| 18 | 50-10-285СП Провод 153 | 1 | |
| 19 | 700-41-3345 Скоба | 2 | |
| 20 | ТВ-40-230-14 Трубка | 1 | |
| 21 | 700-40-7043 Прокладка | 2 | |
| 22 | - | Болт М12Х30.58.019 | 8 |
| 23 | - | Шайба 12ОТ65Г09 | 8 |
| 24 | 50-10-400СП Крышка | 2 | |
| 25 | 700-40-7055 Прокладка | 2 | |
| 26 | - | Батарея аккумуляторная 6СТ-182ЭМС | 2 |
| 27 | 50-10-430СП Контейнер | 1 | |
| 28 | 50-10-431СП Контейнер | 1 | |
| 29 | - | Штепсельная розетка 47К-Э | 1 |
| 30 | - | Шайба | 2 |
| 31 | - | Шайба 3Т65Г06 | 2 |
| 32 | - | Гайка М3Х6.019 | 2 |
| 33 | - | Винт В.2М3-6gХ25.58.019 | 2 |
| 34 | 700-40-3727 Амортизатор | 8 | |
| 35 | 700-42-2300 Пистон | 4 | |
| 36 | 2848 Болт | 4 | |
| 37 | - | Гайка М8Х6.019 | 4 |
| 38 | - | Шайба 8Т65Г09 | 4 |
| 39 | 50-10-294СП Провод 22 | 1 | |
| 40 | 50-10-346СП Рамка | 2 | |
| 41 | 700-40-3140 Кольцо | 1 | |
