Бульдозерное оборудование ОБ10 с полусферическим и прямым отвалом
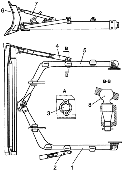
Устройство оборудования описано на примере оборудования модели Е с полусферическим отвалом 80-52-19-07СП (рис. 1). Оборудование моделей В (рис. 1) и В4 (рис. 4) отличается формой отвала (прямой). На модели В4 для изменения угла поперечного перекоса установлены винтовые раскосы – ручной перекос.
Рис. 1 Оборудование бульдозерное Е и В
1,6-брус толкающий; 2-тяга; 3-балка; 4-подкос; 5-гидрораскос; 7-опора шаровая; 8-раскос винтовой; 9-стопор; 10-отвал полусферический; 11-рукоятка винтового раскоса; 12-отвал прямой
Оборудование бульдозерное состоит из рабочего органа (отвала с ножами), толкающего устройства, механизма компенсации перекоса отвала и системы управления.
Рабочий орган – отвал, соединяется с трактором при помощи толкающего устройства.
Отвал – жесткой сварной коробчатой конструкции, образованной из лобовых листов с приваренными к тыльной стороне продольными балками, листов, соединяющих балки между собой и верхней частью отвала, и боковыми стенками. К продольным балкам, нижней и средней, приварены проушины для соединения с толкающими брусьями и штоками гидроцилиндров подъема отвала. К верхним балкам приварены проушины для крепления гидравлического и винтового раскосов. К нижней части лобовых листов крепятся ножи.
Рис. 2 Оборудование бульдозерное В4 70-52-10СП
1-раскос винтовой; 2-тяга; 3-балка; 4-подкос; 5-отвал прямой; 6, 8-брус толкающий; 7-опора шаровая.
Толкающее устройство состоит из толкающих брусьев и предназначено для передачи усилия от трактора к отвалу.
Толкающие брусья – сварные, коробчатого сечения, впереди с проушинами для присоединения через крестовину к отвалу, сзади – с шаровыми опорами для крепления к рамам гусеничных тележек.
Механизм компенсации перекоса отвала предназначен для распределения боковых нагрузок на толкающие брусья и обеспечения изменения угла между отвалом и толкающими брусьями в момент перекоса отвала. Механизм компенсации перекоса отвала состоит из подкоса, балки и тяги. Балка одним концом соединена через кронштейн, другим – через серьгу с отвалом, а также с подкосом и тягой.
Положение отвала относительно продольной оси трактора изменяется при вращении регулировочного винта подкоса (предварительно отсоединить подкос от бруса).
Гидравлический (рис. 3) и винтовой (рис. 4) раскосы предназначены для изменения угла поперечного перекоса и регулирования угла резания отвала.
Раскосы одним концом крепятся к проушинам на отвале, другим – к проушинам на толкающих брусьях (рис. 4).
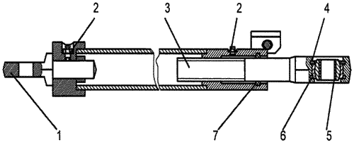
Рис. 4 Раскос винтовой
1-раскос; 2-масленка; 3-винт; 4-кольцо стопорное; 5-втулка; 6-подшипник; 7-кольцо
Угол резания отвала регулировать изменением длины раскоса 80-52-101сп и гидрораскоса в одну сторону (при положении ножей отвала в плоскости опорной поверхности гусениц).
Для получения угла резания равного:
- 50° – ввернуть винт раскоса до отказа
- 60° – вывернуть винт раскоса до появления резьбы
- 55° – установить размер 1180 мм между центрами проушин крепления раскоса. Вращение раскоса за каждые два оборота изменяет угол резания на 1°30'
Гидравлическая система управления отвалом предназначена для подъема и опускания отвала, а также для перекоса отвала в поперечной плоскости и изменения угла резания.
Состоит из элементов гидросистемы трактора, гидроцилиндров подъема и опускания отвала и элементов гидросистемы перекоса отвала.
Гидравлическая система перекоса отвала присоединяется к гидросистеме трактора и состоит из гидрораскоса и гидролиний (трубы, рукава, соединения).
В состав элементов гидросистемы трактора входят: гидробаки с фильтром, гидронасос, гидрораспределитель с ручным управлением.
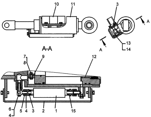
Рис. 3 Гидрораскос 50-50-121сп
1-гидрозамок; 2-кожух; 3-кольцо; 4-кольцо; 5-компенсатор; 6-угольник; 7-шайба; 8-винт стопорный; 9-гайка; 10-ограждение; 11-гидроцилиндр; 12 -втулка; 13-гайка; 14-шпилька; 15-штуцер
Гидрораскос (рис. 3) предназначен для управления поперечным перекосом отвала и состоит из гидроцилиндра с гидрозамком.
Гидроцилиндр двустороннего действия, с гидрозамком.
Гидрозамок – двусторонний, с двумя запорно-управляемыми элементами.
ЗАПРЕЩАЕТСЯ РАЗБОРКА ГИДРОЗАМКА. Гидравлический замок, отказавший в работе, следует снять и заменить новым.
Бульдозерное оборудование ОБ10 с поворотным отвалом с ручным перекосом
Бульдозерное оборудование с поворотным отвалом (рис. 5) состоит из отвала с толкателями и толкающего устройства – рамы.
Рис. 5 Оборудование бульдозерное Д 80-52-29-01СП
1, 5-полурама; 2, 4-брус толкателя; 3-гнездо; 6-отвал; 7-раскос винтовой; 8-палец шаровой
Отвал – сварной и состоит из лобового листа, усиленного с тыльной стороны верхней и нижней коробками жесткости. К нижней части лобового листа крепятся ножи. Для присоединения раскосов, брусьев толкателей и головки рамы к отвалу приварены проушины и гнездо.
Толкатели предназначены для соединения отвала с рамой, состоят из бруса толкателя и установленного на брус винтового раскоса.
Брус толкателя – сварной, коробчатого сечения. К переднему концу бруса толкателя приварена вилка. Задние концы брусьев толкателей заканчиваются разъемным сферическим шарниром, охватывающим шаровую головку пальца, установленного в кронштейне рамы.
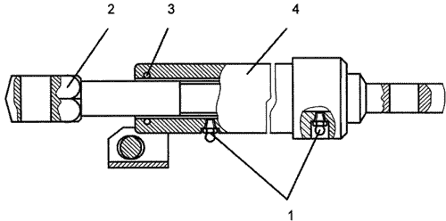
Для изменения угла поперечного перекоса и регулирования угла резания на брусья толкателей установлены винтовые раскосы (рис. 6).
Рис .6 Раскос
1-масленка; 2-винт; 3-кольцо; 4-раскос
Для получения угла резания отвала, равного:
- 50° – ввернуть винт раскоса до отказа
- 60° – вывернуть винт раскоса до появления резьбы
- 55° – установить размер 1180 мм между центрами проушин крепления раскоса.
Толкающее устройство – рама состоит из правой и левой полурам, соединенных шарнирно. На верхней плоскости рамы приварены кронштейны для установки шаровых пальцев крепления толкателей.
Изменение угла поворота отвала в плане осуществляется перестановкой шаровых пальцев толкателей в соответствующие кронштейны рамы.
Рама крепится к шаровым опорам гусеничных тележек и проушины рамы к штокам гидроцилиндров Б10.
