| # | Номенклатурный номер | Наименование детали | Кол-во |
| - | 71-44-101СП Редуктор подъема груза | 1 | |
| - | 71-44-102СП Редуктор подъема стрелы | 1 | |
| 1 | 71-44-1 Корпус 1 | 1 | |
| 2 | 74-44-3 Корпус 2 | 1 | |
| 3 | – | Болт М10-6gх25.58.019 | 16 |
| 4 | – | Шайба 10 ОТ 65Г 09 | 112 |
| 5 | 3262 Штифт | 4 | |
| 6 | 700-40-8596 Прокладка | 2 | |
| 7 | 700-28-2578 Болт | 24 | |
| 8 | – | Шайба 24 ОТ 65Г 09 | 24 |
| 9 | 71-44-2 Крышка 1 | 1 | |
| 10 | 71-44-4 Крышка 2 | 1 | |
| 11 | – | Болт М10-6gх30.58.019 | 44 |
| 12 | – | Болт М10х35.58.019 | 20 |
| 1 Для 71-44-101СП 2 Для 71-44-102СП | |||
| # | Номенклатурный номер | Наименование детали | Кол-во |
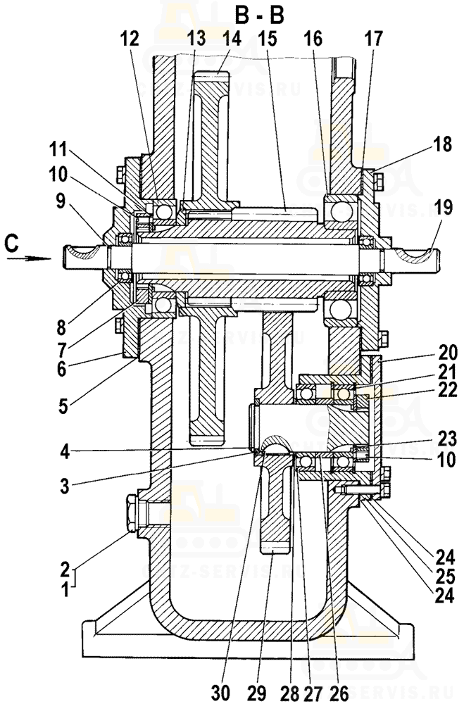
| 1 | 700-37-2154 Пробка | 6 | |
| 2 | – | Кольцо 27х35 | 6 |
| 3 | 71-44-49 Кольцо | 2 | |
| 4 | 71-44-50 Вал | 2 | |
| 5 | 700-40-8597 Прокладка | 2 | |
| 6 | 71-44-25 Крышка 2 | 2 | |
| 6 | 71-44-27 Крышка 1 | 2 | |
| 7 | 700-30-2401 Гайка | 2 | |
| 8 | – | Подшипник 205 | 4 |
| 9 | – | Кольцо 20-25-30-2- | 4 |
| 10 | – | Винт В.М8х16.14Н | 8 |
| 11 | 71-44-44 Пластина | 6 | |
| 12 | – | Подшипник 214 | 2 |
| 13 | 71-44-36 Кольцо | 2 | |
| 14 | 71-44-99 Кольцо зубчатое | 2 | |
| 15 | 71-44-98 Шестерня | 2 | |
| 16 | – | Подшипник 313 | 2 |
| 17 | 700-40-8595 Прокладка | 2 | |
| 18 | 71-44-26 Крышка 1 | 1 | |
| 18 | 71-44-24 Крышка 2 | 1 | |
| 19 | 71-44-31 Валик | 2 | |
| 20 | 71-44-28 Крышка | 2 | |
| 21 | 700-58-2563 Кольцо | 4 | |
| 22 | 700-30-2264 Гайка | 6 | |
| 23 | 62-14-59 Пластина | 6 | |
| 24 | 700-40-8599 Прокладка | 4 | |
| 25 | 71-44-29 Корпус | 2 | |
| 26 | 71-44-30 Втулка | 2 | |
| 27 | – | Подшипник 210АК | 4 |
| 28 | 71-44-32 Втулка | 2 | |
| 29 | 71-44-12 Колесо зубчатое | 2 | |
| 30 | 700-34-2051 Шпонка сегментная | 2 | |
| 1 Для 71-44-101СП 2 Для 71-44-102СП | |||
| # | Номенклатурный номер | Наименование детали | Кол-во |
| 1 | 71-44-116СП Упор 1 | 1 | |
| - | 71-44-116-01СП Упор 2 | 1 | |
| 2 | – | Болт М10-6gх25.58.019 | 16 |
| 3 | – | Шайба 10 ОТ 65Г 09 | 112 |
| 4 | – | Болт М10-6gх30.58.019 | 44 |
| 5 | – | Винт ВМ10-6gх22.58.019 | 2 |
| 6 | 18-26-286СП Сапун | 2 | |
| 7 | 700-42-2631-01 Прокладка | 2 | |
| 8 | 71-44-144СП Упор 1 | 1 | |
| 8 | 71-44-144-01СП Упор 2 | 1 | |
| 9 | 71-44-51 Палец | 4 | |
| 10 | 31543 Шайба | 4 | |
| 11 | 700-37-2283 Пробка | 4 | |
| 12 | – | Масленка 1.3Ц6 | 4 |
| 1 Для 71-44-101СП 2 Для 71-44-102СП | |||
