| Поз. | Номенклатурный номер | Наименование детали | Кол-во |
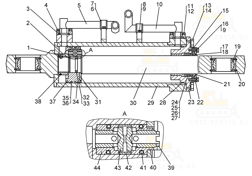
| – | 748-72-1СП | Гидрооборудование рыхлителя | |
| 1 | 749-72-253-01СП Гидроцилиндр правый | 1 | |
| 2 | 749-72-189СП Гидроцилиндр | 1 | |
| 3 | 748-72-121СП Труба | 1 | |
| 4 | 748-72-120СП Труба | 1 | |
| 5 | 748-72-122СП Труба | 1 | |
| 6 | 749-72-386 Втулка | 4 | |
| 7 | 749-72-385 Скоба | 4 | |
| 8 | – | Болт М16-6g×40.58.019 | 2 |
| 9 | – | Гайка М16-7Н.6.019 | 2 |
| 10 | – | Шайба 16 ОТ 65Г 09 | 2 |
| 11 | 748-72-276 Кронштейн | 1 | |
| 12 | 748-72-277 Прокладка | 1 | |
| 13 | – | Болт М12-6g×55.58.019 | 1 |
| 14 | – | Шайба 12 ОТ 65Г 09 | 2 |
| 15 | 748-72-278 Хомут | 1 | |
| 16 | – | Болт М12-6g×30.58.019 | 1 |
| 17 | – | Гайка М12-7Н.6.019 | 3 |
| 18 | 749-72-324 Втулка | 6 | |
| 19 | 749-72-323 Хомут | 6 | |
| 20 | 700-54-228 Хомут | 2 | |
| 21 | – | Болт М10-6g×35.58.019 | 1 |
| 22 | – | Гайка М10-7Н.6.019 | 2 |
| 23 | – | Шайба 10 ОТ 65Г 09 | 2 |
| 24 | 700-54-242 Хомут | 2 | |
| 25 | 50-26-484-06СП Рукав | 6 | |
| 25 | 50-26-484-07СП Рукав 1 | 6 | |
| 25 | 50-26-484-08СП Рукав 2 | 6 | |
| 26 | 749-72-211СП Переходник | 1 | |
| 27 | 749-72-253СП Гидроцилиндр (левый) | 1 | |
| 28 | 700-57-390 Штуцер | 2 | |
| 29 | 50-26-487-04СП Рукав 25 | 4 | |
| 29 | 50-26-487-05СП Рукав 25 | 4 | |
| 29 | 50-26-487-06СП Рукав 25 2 | 4 | |
| 1 Для тропиков. 2 Для условий ХЛ. | |||
| Поз. | Номенклатурный номер | Наименование детали | Кол-во |
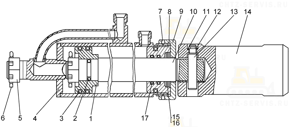
| – | 749-72-189СП Гидроцилиндр | ||
| 1 | 749-72-287 Поршень | 1 | |
| 2 | – | Кольцо 030-035-30-2-2 | 1 |
| 3 | – | Кольцо 070-080-58-2-2 | 3 |
| 4 | 749-72-190СП Гильза | 1 | |
| 5 | – | Гайка М30×2-7Н.05.019 | 2 |
| 6 | – | Шплинт 6.3×63.019 | 2 |
| 7 | – | Винт М6-8g×8.45Н.019 | 2 |
| 8 | 749-72-289 Крышка | 1 | |
| 9 | 749-72-290 Гайка | 1 | |
| 10 | 749-72-288 Шток | 1 | |
| 11 | 700-39-523 Кольцо | 1 | |
| 12 | 700-31-1118 Шайба | 1 | |
| 13 | 749-98-84 Штифт | 1 | |
| 14 | 749-98-321 Палец | 1 | |
| 15 | 749-72-291 Чистик | 8 | |
| 16 | 749-72-291-01 Чистик | 4 | |
| 17 | – | Кольцо 040-048-46-2-2 | 2 |
