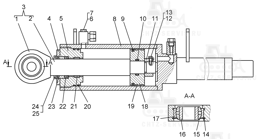
| Поз. | Номенклатурный номер | Наименование детали | Кол-во |
| – | 50-50-226CП Гидроцилиндр | 1 | |
| 1 | 50-50-151 Проушина | 1 | |
| 2 | 50-50-197 Шток | 1 | |
| 3 | 50-50-189СП Шток | 1 | |
| 4 | 50-50-396 Фланец | 1 | |
| 5 | 50-50-226 Крышка | 1 | |
| 6 | 40911 Кольцо | 1 | |
| 7 | 700-41-3543 Пробка | 1 | |
| 8 | 50-50-188СП Корпус | 1 | |
| 9 | - | Уплотнение Е13М-160-5 | 1 |
| 10 | 700-40-7936 Кольцо | 1 | |
| 11 | 50-50-155 Гайка | 1 | |
| 12 | 700-35-2164 Винт стопорный | 1 | |
| 13 | Шайба 2.12.01.05 | 1 | |
| 14 | 700-58-2533 Кольцо | 1 | |
| 15 | 80-52-128 Втулка | 1 | |
| 16 | 50-50-165-1 Втулка | 1 | |
| 17 | 80-52-127 Кольцо | 1 | |
| 18 | 50-50-227 Поршень | 1 | |
| 19 | - | Кольцо Е21-160-15-4.0 | 2 |
| 20 | 700-40-7937 Кольцо | 2 | |
| 21 | - | Кольцо Е22-080-30-3.0 | 1 |
| 22 | - | Манжета Е32-080-4 | 1 |
| 23 | - | Грязесъемник Е50-А-063-5 | 1 |
| 24 | - | Болт 28579 М12x40 | 6 |
| 25 | - | Шайба 12 ОТ 65Г 09 | 6 |
