| # | Номенклатурный номер | Наименование детали | Кол-во |
| - | 64-13-138СП Тяга | 1 | |
| - | 64-13-139СП Тяга | 1 | |
| - | 64-13-159СП Тяга 1 | 1 | |
| 1 | 50-18-15 Вилка | 1 | |
| 2 | - | Гайка М20×1,5-7Н.6.019 | 2 |
| 3 | 64-13-140СП Тяга | 1 | |
| 3 | 64-13-141СП Тяга 2 | 1 | |
| 3 | 64-13-163СП Тяга 1 | 1 | |
| 1 Для болотоходного трактора. 2 Входит в 64-13-139СП. | |||
| # | Номенклатурный номер | Наименование детали | Кол-во |
| - | 64-13-160СП Тяга | 1 | |
| 1 | 50-18-15 Вилка | 1 | |
| 2 | - | Гайка М20×1,5-7Н.6.019 | 2 |
| 3 | 64-13-164СП Тяга | 1 | |
| # | Номенклатурный номер | Наименование детали | Кол-во |
| - | 64-13-191СП Тяга | 2 | |
| 1 | 50-13-207СП Тяга | 1 | |
| 2 | 700-30-2406 Гайка | 1 | |
| 3 | 50-13-266 Стяжка | 1 | |
| 4 | - | Гайка М20×1,25-7Н.6.019 | 2 |
| 5 | 64-13-179СП Тяга | 1 | |
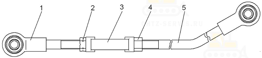
| # | Номенклатурный номер | Наименование детали | Кол-во |
| - | 64-13-192СП Тяга | 1 | |
| - | 64-13-192-01СП Тяга | 1 | |
| 1 | 50-13-207СП Тяга | 1 | |
| 2 | 700-30-2406 Гайка | 1 | |
| 3 | 50-13-266 Стяжка | 1 | |
| 4 | - | Гайка М20×1,25-7Н.6.019 | 2 |
| 5 | 64-13-189СП Тяга | 1 | |
| 5 | 64-13-189-01СП Тяга | 1 | |
