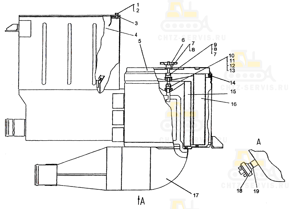
| Поз. | Номенклатурный номер | Наименование детали | Кол. |
| - | 749-05-182CΠ Воздухоочиститель дизеля | ||
| 1 | - | Болт M8-6g×12.88.35.019 | 18 |
| 2 | - | Шайба 8T 65Γ 09 | 18 |
| 3 | 700-40-9239 Прокладка | 1 | |
| 4 | 749-05-142CΠ Решетка | 1 | |
| 5 | 749-05-180CΠ Крышка | 1 | |
| 6 | 749-05-113CΠ Рукоятка | 2 | |
| 7 | 700-40-9440 Прокладка | 1 | |
| 8 | 3197 Шайба 10×3.02.3кп.019 | 4 | |
| 9 | - | Гайка М10-7Н.6.019 | 4 |
| 10 | 749-05-220 Переходник | 4 | |
| 11 | 700-40-9440-01 Прокладка | 2 | |
| 12 | - | Гайка М12-7Н.04.45.019 | 4 |
| 13 | 31372 Шайба 12.02.3кп.019 | 2 | |
| 14 | 700-40-9435 Прокладка | 1 | |
| 15 | - | Фильтр-патрон ФП 207.1-02/60-12028-00 | 2 |
| 16 | - | Фильтр-патрон ФП 207.1-03/60-12029-00 | 2 |
| 17 | 749-05-181СБ Корпус воздухоочистителя | 1 | |
| 18 | - | Датчик сигнализатора засоренности воздушного фильтра | 1 |
| 19 | - | Кольцо 14×20 | 1 |
