| Поз. | Номенклатурный номер | Наименование детали | Кол-во |
| – | 70-52-120СП Отвал 1 | 1 | |
| – | 70-52-120-01СП Отвал 2 | 1 | |
| – | 70-52-120-02СП Отвал 3 | 1 | |
| – | 70-52-120-03СП Отвал 4 | 1 | |
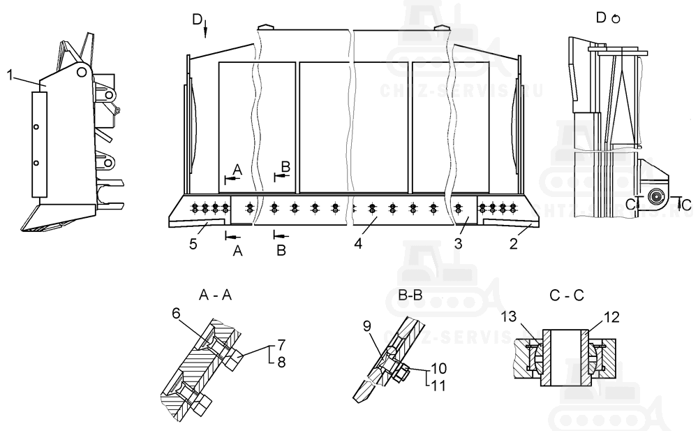
| 1 | 70-52-121СП Отвал 1 | 1 | |
| 1 | 70-52-121-01СП Отвал 2 | 1 | |
| 1 | 70-52-121-02СП Отвал 3 | 1 | |
| 1 | 70-52-121-03СП Отвал 4 | 1 | |
| 2 | 80-52-111-02 Нож боковой левый | 1 | |
| 3 | 80-52-61 Нож средний | 2 | |
| 4 | 70-52-13 Нож средний | 1 | |
| 5 | 80-52-112-02 Нож боковой правый | 1 | |
| 6 | 700-28-2517 Болт | 16 | |
| 7 | 3015 Гайка | 16 | |
| 8 | – | Шайба 20 ОТ 65Г 09 | 16 |
| 9 | 700-28-2492 Болт | 24 | |
| 10 | 3013 Гайка | 24 | |
| 11 | – | Шайба 16 ОТ 65Г 09 | 24 |
| 12 | 80-52-603 Втулка | 1 | |
| 13 | 80-52-128 Втулка | 1 | |
| 1 Для отвала В4. 2 Для отвала В4 с ящиком для инструмента. 3 Для отвала В4 с противоизносными накладками. 4Для отвала В4 с ящиком для инструмента и противоизносными накладками. | |||
