| # | Номенклатурный номер | Наименование детали | Кол-во |
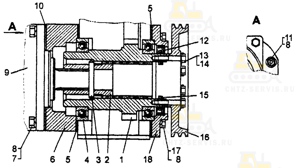
| 1 | 50-26-814-01 Вал | 1 | |
| 2 | 50-26-807 Муфта | 1 | |
| 3 | 700-32-2081 Штифт | 1 | |
| 4 | - | Подшипник 118 | 2 |
| 5 | 700-40-3766 Прокладка | 2 | |
| 6 | 18-26-802 Фланец | 1 | |
| 7 | 28556 Болт | 4 | |
| 8 | - | Шайба 12 ОТ 65Г 09 | 20 |
| 9 | - | Насос НШ 100А-3Л | 1 |
| 9 | - | Насос НШ 71А-3Л | 1 |
| 10 | 700-40-3688 Прокладка | 1 | |
| 11 | - | Гайка М12х1,25-7Н.6.019 | 8 |
| 12 | - | Манжета 1.2-90x120-4 | 2 |
| 13 | 28452 Болт | 6 | |
| 14 | 700-31-2612 Шайба | 3 | |
| 15 | 700-40-7321 Кольцо | 1 | |
| 16 | 50-26-816 Шкив | 1 | |
| 17 | 28558 Болт | 8 | |
| 18 | 50-26-833 Фланец | 1 | |
