Перечень операций технического обслуживания ОБ10
Виды, периодичность и порядок технического обслуживания бульдозерного оборудования соответствуют ТО базового трактора.| Наименование операции | ЕТО 10 км/ч | ТО после первых 50 м/ч | ТО-1 50 м/ч | ТО-2 250 м/ч | Доп. ТО-2 500м/ч | ТО-3 1000 м/ч |
| 1. Проверить внешним осмотром комплектность бульдозерного оборудования, состояние сварных соединений, режущих кромок ножей бульдозера Б10, герметичность гидросистемы и, при необходимости, подтянуть крепления и устранить подтекания | + | + | + | + | + | |
| 2. Проверить и, при необходимости, отрегулировать: | ||||||
| - осевой зазор в упряжном шарнире толкающих брусьев | + | |||||
| 3. Смазать: | ||||||
| - винтовой раскос 80-52-101сп | + | + | + | |||
| - шаровые опоры гидроцилиндров подъема 131-26-108-02сп и опускания и шарнирные соединения гидрораскоса | + | + | + | + | + | |
| 4. Подтянуть крепления: | ||||||
| - шаровых опор | + | + | ||||
Таблица смазки ОБ10
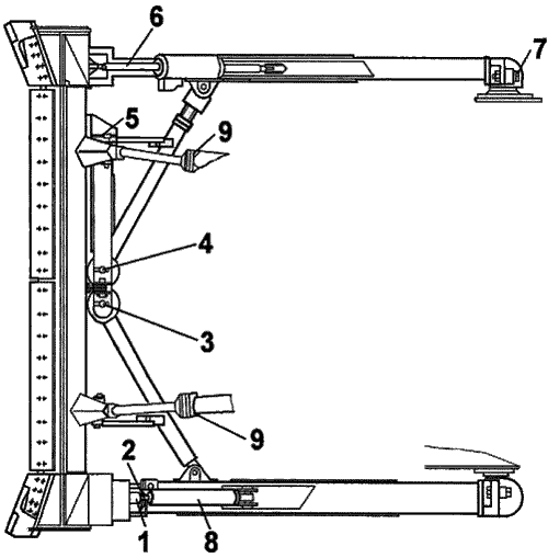
Рис. 10 Карта смазки оборудования бульдозерного Б10 моделей Е и В
| Поз. | Точка смазки | Смаз. мат-лы | Кол-во точек смазки | Расход смазочного мат-ла | Периодичность дозаправки и замены смазки, моточас |
| 1 | втулки проушин бруса и отвала | Смазка Литол-24 | 4 | 30 | При ремонте |
| 8 | винтовой раскос | 2 | До выхода смазки | 250 | |
| Шарнирные подшипники: | |||||
| 6 | гидрораскоса | 1 | 40 | 250 | |
| 3 | тяги | 1 | 40 | 250 | |
| 5 | балки | 1 | 40 | 250 | |
| 4 | подкоса | 1 | 40 | 250 | |
| 2 | винтового раскоса | 1 | 40 | 250 | |
| 7 | шаровая опора бруса | 2 | 60 | 1000 | |
| 9 | шаровые опоры гидроцилиндров | 2 | 36 | 250 | |
Рис. 11 Карта смазки оборудования бульдозерного 80-52-29-01СП модели Д
| Поз. | Точка смазки | Смаз. мат-лы | Кол-во точек смазки | Расход смазочного мат-ла | Периодичность дозаправки и замены смазки, моточас |
| 2 | винтовой раскос | Смазка Литол-24 | 4 | 40 | 250 |
| 3 | шаровая опора рамы | 2 | 60 | При ремонте | |
| 1 | шаровые соединения | 2 | 20 | 1000 | |
| - | шаровые опоры гидроцилиндров | 2 | 36 | 250 |
