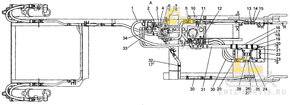
| Поз. | Номенклатурный номер | Наименование детали | Кол. |
| 1 | 50-26-487-08СП Рукав 25 | 1. | |
| 2 | 749-99-247-01СП Труба | 1 | |
| 3 | 749-99-247СП Труба | 1 | |
| 4 | 50-26-485-04СП Рукав 16 | 2 | |
| 5 | - | Шайба 12 ОТ 65Γ 09 | 41 |
| 6 | - | Болт M12-6g×45.58.019 | 7 |
| 7 | 748-99-667СП Труба | 1 | |
| 8 | 748-99-1313 Ввертыш | 1 | |
| 9 | 749-99-371 Прокладка | 1 | |
| 10 | 749-99-369 Прокладка | 1 | |
| 11 | 749-99-370 Прокладка | 1 | |
| 12 | 748-99-669СП Труба | 1 | |
| 13 | 749-99-197 Хомут | 14 | |
| 14 | 748-99-909 Кронштейн | 4 | |
| 15 | 749-99-198 Бонка | 14 | |
| 16 | 749-99-138СП Труба | 1 | |
| 17 | 700-41-2235-29СП Хомут | 14 | |
| 18 | 700-40-3503 Рукав | 3 | |
| 19 | 749-99-139СП Труба | 1 | |
| 20 | - | Болт M12-6g×30.58.019 | 10 |
| 21 | - | Кольцо 060-070-58-2-5 | 2 |
| 22 | - | Hacoc НШ-100А-3Л | 1 |
| 23 | - | Болт M12-6g×40.58.019 | 31 |
| 24 | 748-99-675СП Труба | 1 | |
| 25 | 700-40-3688 Прокладка | 2 | |
| 26 | 700-37-2179 Пробка | 2 | |
| 27 | 301-161А Кольцо | 2 | |
| 28 | 749-50-211 Втулка | 1 | |
| 29 | - | Hacoc НШ-100А-З | 1 |
| 30 | 50-26-487-02СП Рукав 25 | 8 | |
| 31 | 749-99-344 Труба | 1 | |
| 32 | 700-40-3668 Прокладка | 24 | |
| 33 | 749-99-249-03СП Труба | 1 | |
| 34 | 749-99-249-02СП Труба | 1 | |
| Поз. | Номенклатурный номер | Наименование детали | Кол. |
| 1 | 700-40-3668 Прокладка | 24 | |
| 2 | 700-28-916 Болт | 68 | |
| 3 | 748-99-1015 Хомут | 8 | |
| 4 | 748-99-1014 Бонка | 8 | |
| 5 | 748-99-566 Кольцо | 9 | |
| 6 | 748-99-633 Штуцер | 4 | |
| 7 | - | Кольцо 27×35 | 2 |
| 8 | H.036.12.041 | Заглушка сферическая | 4 |
| 9 | Н.036.01.005 | Гайка накидная | 4 |
| 10 | 700-30-2308 Гайка | 2 | |
| 11 | 700-57-387 Штуцер | 2 | |
| 12 | 700-57-316 Штуцер | 4 | |
| 13 | 46764 Кольцо | 6 | |
| 14 | 748-99-1159 Заглушка | 4 | |
| 15 | 700-33-9-01 Гайка накидная | 4 | |
| 16 | - | Проволока КО 1,6 | 10 м |
| 17 | 700-40-3126 Кольцо | 1 | |
| 18 | 700-57-392 Штуцер | 2 | |
| 19 | - | Кольцо 038-046-46-2-2 | 2 |
| 20 | 42212 Муфточка | 4 | |
| 21 | - | Болт M12-6g×40.58.019 | 31 |
| 22 | 50-26-230 Прижим | 6 | |
| 23 | 748-99-959 Болт | 2 | |
| 24 | - | Кольцо 39×45 | 4 |
| 25 | 748-99-985 Клапан | 1 | |
| 26 | 748-99-963 Корпус | 1 | |
| 27 | 700-38-2409 Пружина | 1 | |
| 28 | 370-55-67 Кольцо | 1 | |
| 29 | 748-99-995 Ниппель | 1 | |
| 30 | 700-38-2239 Пружина | 2 | |
| 31 | 748-99-979 Клапан | 2 | |
